プロジェクト実行者
ストーリー


1.NEW ライフスタイルの提案
リュックにバイザーを装備/収納できハンドフリーを実現できたことにより、両手が使える
新しいスタイルをご提案します。
特許出願中 番号2017-063004
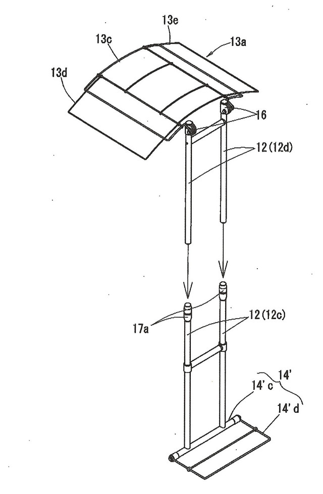
2.商品紹介 商品名[ カサリュック ]
特徴①.バイザー本体がリュックサックの中に収納出来ることです。
収納できる事により、電車の中、お店でのお買い物、通勤・通学等バイザーが邪魔になりません!
バイザーがコンパクトに折りたたみできます。






6番の状態で袋に入れ、リュックに収納!

特徴② バイザーの特徴
UVカット+撥水
メーカー TORAY RiodeFD#T2675 を採用・シレー撥水加工
遮蔽率 95%以上 UPF50+ 白でも95%を実現・素材ポリエステル100%
色の選択 ブラック・ブルー・ダークグリーンの3色からお選びください。

メーカーは、TORAYです。

特徴③ 本体
超軽量設計 重さ僅か980gを実現!
超軽量アルミ合金使用 骨組みは黒披針金



特徴④安全設計
強風時のご使用はご遠慮くさい。ただし、強風時にはバイザーが後ろに反転し、体への
衝撃を守ります。



特徴⑤リュックサック
優美社産業(株)様とタイアップ致しました。
収納が多いWORLDOUTDOOR多機能 Dパック 25L 3E70を採用!




今回採用しましたリュックの色はブラックとカーキの2色です。
ご了承ください。
商品名WORLD OUTDOOR 多機能Dパック
商品番号3E70
サイズ・本体:W34×H50×D12cm
・ショルダーベルト長さ:約43~83cm
重さ・本体:約580g
ポケット[外側](正面)ファスナーポケット×1/シークレットポケット×2
[内側](メインルーム)ファスナーポケット×1、(サブルーム)オーガナイザーポケット×1【ペンポケット×3・カードポケット×3・オープンポケット×1・キーハーネス×1】/ファスナーポケット×1
素材ナイロン
カラーBLACK(ブラック)、GRAY(グレイ)、NAVY(ネイビー)、KHAKI(カーキ)、BEIGE(ベージュ)、RED(レッド)
※注意点現在の染色・プリント技術では色落ち、色あせを完令に止めることはできません。
水濡れや日光によって色落ち・色あせすることがありますのでご注意下さい。
本製品に雨や汗で濡れた物を直接入れますと変色や汚染の恐れがあります。
濡れた物を入れる場合はビニール袋などに収納してからお入れください。
本製品は可燃素材を使用しており、火や高熱物に近づけたり放置したりは絶対にしないで下さい。
溶けたり燃えたりする場合がありますので大変危険です。
本製品の強度はメーカー基準を満たしていますか、誤使用や過度の外力により製品が破損する場合がありますのでご注意ください。 本製品は落下などの衝撃に対し内容物を保護するものではありません。
精密機器・割れ物等の破損しやすい内容物の保護目的で便用しないで下さい。
こちらの商品は洗濯ができません。
この製品に使用されています素材は感触のよさを大切にした加工をしています。
その為、多少の色落ち、色焼け、水濡れなどによる汚染、シミになる場合がございますので、ご了承ください。
又、水分、直射日光は避けて保管していただきますようお願い致します。
シーンの一例
使用シーンの一部ですが、観光・ウォーキング・絵描きの人・工事現場・キャディーさん
シニアの方の散策、買い物・農作業・菜園・通勤・通学等用途は多岐に使用できます。

ボート釣りにも・筏釣りにも最適!

家庭菜園・農業

動物の散歩!

最後に !!
私たちは、生活のなかで不便を感じる事がたくさんあります、何とか解決できないもか?と言う思いで常に思考錯誤しております。これがあれば、こんな便利なことはない!街中をふと見てみますと、ほとんどの方がリュックを使用されいることに気が付きました。
雨が降れば必ず傘を使用します、荷物で両手がふさがれます。特にシニアの方はご不便を強いられています。真夏の炎天下、女性は日傘、男性は帽子・それでも熱中症にかかられる方が如何に多いか、そんなある日、「両手が使えてコンパクトに収納できるものがあれば、助かるんですが?」の一言で開発に着手しました。
世の中には雨、日光を遮ることができるのは、傘しか見当たりません!
「傘の様で、両手が自由に使える」ができないか?
数か月の歳月を経て、リュックに収納できる「カサ・リュック」を開発しました。
完成まであと少しです、皆様のご支援を得て6月には完成したいと思っています。
皆様のお力をお借りして、少しでもこの商品が広まっていければと良いと思っております、何卒よろしくお願い申しあげます。
最後になりましたが、この度は最後まで商品ページをご覧いただき、本当にありがとうございました。
フランス工房 一同
サポーターからの応援コメント
文章のトップに戻る
応援購入する
このプロジェクトはAll in型です。目標金額の達成に関わらず、プロジェクト終了日の2017年06月29日までに支払いを完了した時点で購入が成立します。
「カサ・リュック」 リュック付フルセット
10,000円(税込)
(更新日:2018年03月14日)
[Makuake限定超早割]33%OFF
一般予定販売価額14,800円(税込)/送料別
カラー選択 バイザーの色
(黒・青・ダークグリーン の三色 )
リュックサックの種類
黒・KHAKI (RV SUPORTS WORLDOTDOOR 3E70)の二色に限定!
*仕様・デザインにつきましては、予告なく変更になる場合がございませ。
ご了承くださいませ。
「カサ・リュック」リュック付フルセット
11,800円(税込)
(更新日:2018年03月14日)
[Makuake限定早割]20%OFF
一般予定販売価額14,800円(税込)/送料別
カラー選択 バイザー
(黒・青・ダークグリーン)の3色
リュックサック
黒・KHAKI (RV SUPORTS WORLDOTDOOR 3E70)の2色に限定
*仕様・デザインにつきましては、予告なく変更になる場合がございます。
ご了承くださいませ。
「カサ・リュック」リュック付ペアフルセット
19,000円(税込)
(更新日:2018年03月14日)
[Makuake限定超早割]35.8%OFF
一般予定販売価額29,600円(税込)/送料別 [2個セット]
カラー選択 バイザー
( 黒・青・ダークグリーン)の3色
リュックサック
黒・KHAKI (RV SUPORTS WORLDOTDOOR 3E70)の2色に限定
*仕様・デザインにつきましては、予告なく変更になる場合がございます。
ご了承くださいませ。
「Makuake(マクアケ)」は、実行者の想いを応援購入によって実現するアタラシイものやサービスのプラットフォームです。このページは、 プロダクトカテゴリの 「Newライフスタイルの提案!収納型バイザー付きバックパック<カサリュック >」プロジェクト詳細ページです。