プロジェクト実行者
ストーリー
- 使いやすさを「速さ」に凝縮。革の匠・人間工学・建築的設計で生まれたスタイリッシュなミニ財布
- 長財布の収納力をミニ財布に凝縮。厚さ7ミリの本体に紙幣25枚・硬貨22枚・カード12枚を収納
- 二つ折りとマネークリップの融合形を、美しく堅牢なゴートレザーで、革の匠”アトリエ・ヒロ“が凝縮
機能美と速さのミニ財布

財布が、支払い動作を加速する
手軽なミニ財布が、収納力で長財布を凌駕する
ミニマルで美しい
そんな財布を目指しました。

ミニ財布の違和感や弱点を、特殊な仕掛けではなく、自然な動作で解決したい。
そうなれば誰もが手際よく、流れるように会計できます。

だから「速さ」、それも一部が速いのではなく、「全てが速い、本当の速さ」にこだわりました。構造やレイアウト・納まりをゼロから再構成すると、機能に誠実で端正なフォルムが出来上がりました。
「匠の技」がディテールに宿りました
製作を担うのは、精緻な美しさで高い評価を受けている”アトリエ・ヒロ”。

作品を見ただけで伝わってくる、精巧な作りと高いレベルの仕上がりで、展示会でのアトリエ・ヒロのブースは圧倒的に人々を惹きつけます。
そんな革の匠ならではの薄作り技法で、「ゴートレザー」を二つ折り財布とマネークリップのハイブリッドデザインに美しくまとめ上げました。


速さの検証
Tri-La(トライラ)が導く動作は、よりシンプル・ナチュラルに。
蓋・ファスナーの開閉や持ち替え作業をカット、「本体開閉・視認・出し入れ」だけに断捨離しました。
開いたら、そのまま出し入れに直結。
無理がないから手際よい、無理がないから速い。
その「速さ」の証明に、他製品でも検証できる3つのモデル動作で測定しました。
下はその計測動画です。
●スタンバイモデル:(財布をロック状態から直ぐにお金やカードを動かせる状態に)0.42秒
●取り出しモデル:(ロック状態から紙幣・コイン・カードを取出し、再ロック)3.56秒
●出し入れモデル:(ロック状態から紙幣・コイン・カードを取出し、全て収納して再ロック)6.60秒
Tri-La(トライラ)はすべてのモデルで、限界に近い数値を出しています。
もちろんこれは「最速で作業したら」という実験ですが、それを実行できる自然な動作こそ、「日常での手際よい会計」の核心です。
※数値は特定条件下での測定結果です。測定開始と終了が明確な動画を紹介しています。実際の所要時間は測定状況・個人で差が変動します。
速さの秘密
何気ない動作なのに、速くて的確。こんな動作なら誰でもできる、と思ってくれたらそれが私たちの願うことです。
会計の各シーンでTri-La(トライラ)ならではの特許機能が働いています。 ※特許7535222
片手一瞬で決済開始

支払いの初手、財布の開閉こそ「速さ」の決め手です。
開くときは下端をわずかにたわませるだけ。
片手でロックが外れ、一瞬(0.42秒)で決済スタンバイ状態に。
閉じる時も同じ、わずかにたわませるだけ。持ったままでロックできます。
ミニ財布フルオープン
収納物の一部を視認できるフルオープンポケット
開いたらすぐに出し入れでき、「何がどこにあるか」だけでなく手持ちの概要を把握できて、次の行動をとりやすくなります。

お札は折らずに瞬速で
お札を折らずにスルっと取出し、サッと収納、これも速さ。
二方向オープン・90度に広がる出し入れゾーンで、気楽に収納できます。

コインの取りやすさ
コインが立つ:一円玉より1ミリ浅い薄型ポケットだから、常にコインが立っています。

ポケットの中を漁ることなく、目指すコインを見つけたら、

指先でピンポイントでつまみ出せます。

コインの入れやすさ
出し入れに邪魔な蓋やファスナーがありません。
浅型ポケットが苦手にしている「コインの流し入れ」も、コインを面で受けて奥に流し込む特許構造で解決しました。

カードFAN機能
カードFAN(扇形に広げる)構造、見つけやすく、出し入れしやすい仕組みです。

斜めの切込みが、カードFANを自然にガイド。
ポケットのあちこちを探すよりも、まとめて広げた方が速い。
よく使うカードは一番手前にいれればいい、という発想です。

カードを横から出さないのは、持ち替えの面倒・摩擦で他のカードが落下するのを回避するためです。
コイン散乱への安心感
オープンポケットの財布は落としたり傾けたたときのコインの散乱が不安です。
Tri-La(トライラ)は、指が離れると自動的に閉じる特許構造。うっかり指が離れて落下したり傾いたときに、コインの散乱を抑制します。
サイズと軽さのこだわり
大きさには徹底的にこだわりました。機能を損なわない限り1ミリ単位で断捨離。ミニ財布でも極小と言えるサイズです。特に薄さと軽さの数値は、二つ折り財布では希少です。
薄さ7ミリ。

軽さ26.5グラム。

幅89ミリ、長さ94ミリ、極小サイズです。

幅89ミリ

長さ94ミリ

薄くても大収納力
厚さ7ミリの本体に、紙幣25枚・コイン22枚・カード12枚を収納

極限収納(デザインバランスを損なわずに納めきる)の容量です。バラ銭、バラ札のおつりにも心強い備えになります。このときの厚さは25ミリ。

たっぷり収納していますが、デザインバランスを保っています。

常にこの状態、というのはお勧めしませんが、時々見かける「ミニ財布にお金が入りきらない」というシーンを回避したいのです。
いつでも最薄構造
ちなみに推奨の最大収納は、紙幣15枚・コイン15枚・カード10枚(厚さ18ミリ)↓

厚さは18ミリ


日常的な容量、紙幣8枚・コイン10枚・カード7枚程度では、厚さは12ミリです。


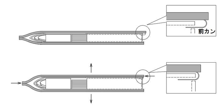
収納量が変わってもデザインバランスが崩れないのは、ロック時に開閉金具(前カン)の長さに余裕を持たせているからです。収納量が増えると、その余裕分で対応します。


新しい特長
1:ゴートレザーの採用

今回のTri-La(トライラ)はゴートレザー。実は某超高級ブランドが好んで使用している素材です。薄くても繊維密度が高く丈夫であること、きめ細かく柔らかい手触りと美しいシボ(天然の凹凸)が特徴です。
発色が良く、摩擦に強く型崩れしにくいことから、高級婦人靴や手袋、衣類、バッグなど、幅広い製品に利用されています。

もちろん製作担当社のアトリエ・ヒロでもシリーズとして多彩に使われています。

一頭から取れる量が少ないことから希少性が高い素材です。銀面・床面ともに美しくしなやか、引張りや傷にも強いので入手した時の綺麗な状態が持続します。

強度に比べてとても軽く、Tri-Laの重量は36gから26.5gへ、26%以上削減できました。触れた印象もしなやかで優しく、服のポケットに入れると柔軟に追随、さりげなく復元します。
2:ゴートレザーの風合いを生かすツートン構成

シボの上品な風合いを生かして、コントラストの効いたツートンデザインを採用しました。外部はトーンブラック、シンクネイビー、テンダーブラウンの3種類、ポケット部分はブライトブラウンで統一しています。
【トーンブラック】

配色イメージ:凛とした佇まいと優しさ
【シンクネイビー】

配色イメージ:洗練された小粋さ
【テンダーブラウン】

配色イメージ:芯のあるエレガンス
3:コイン受けのデザイン変更

紙幣押さえを兼ねたコイン受けは、角型から緩やかな曲線に変更しました。

角の部分が最も紙幣を挿入しやすい位置でしたが、曲線状にすることで、どの位置からもより挿入しやすくなりました。
4:上下カバーの一体化

従来は上下のカバーは二枚で構成していました。本製品ではこれを一体化。上下カバーの合わせ目がなくなり、スキマが広がる懸念がなくなりました。より美しく精緻なディテールです。
ディテールへの配慮

丁寧にコバを磨いて端正にフォルムを整えます。

ゴート革が切り替わる部位では、革の色に合うように表と裏で糸の色を変えています。また、紙幣押さえの縁には、念引きと言われる溝を薄く施して、軽いアクセントをつけながら補強しました。

丁寧でしっかりとしたポケットの縫い付けなど、細部の強度にもこだわりました。
実際の使用シーン
財布の機能とともに、所作のスマートさにもこだわっています。
●スラックスのポケットにもスルっと入ります。
片手で出したら、一瞬でロック解除、そのまま開いてスタンバイ。

しまうときも片手で。身体に付けてたわませると一瞬でロックします。

●胸ポケットからも流れるようにスタンバイできます。

●テーブルに置いたままでも、片手一瞬。

開いたら、おもむくままに取り出してください。それがTri-Laの最適動作です。
Tri-La(トライラ)の誕生秘話
行動設計の試み
私たちは建築設計でいつも「人が自然に動ける空間」に携わっています。その経験で自分の財布を見直したのが、Tri-Laプロジェクトの始まりです。
動作をシンプルにして、作業数を断捨離、迷わず判断できるレイアウト、「僅かな形・寸法が人の動きを変える」、それらを活用して行動を設計することで、ミニ財布はまだ進化する、そう予感させてくれました。

ミニ財布の人気の理由はもちろんそのサイズ感「小さい・薄い・軽い」です。
一方で「使いやすさ」の切り口は多種多彩ですが、その効果は「会計を速くする」「トラブルにも安心」になります。従来の「小・薄・軽」に「速・安」を加えた”ミニ財布の五原則”を製品作りの基準にして、人間工学と建築的設計、匠の技、3つの視点から追求しました。

Tri-La(トライラ)はその中でも、特に「速さ」にこだわっています。使いやすければ自ずとスムーズになり「速くなる」からです。
人間工学の視点から、ダイレクトにお金を移動できる方法を分析すると、中身の一覧性・出し入れ動作の簡単さから「単純に仕切られたオープンな長財布」が最も理想に近いと分かりました。私たちがすべきことは「長財布の良さをミニ財布で実現する」ことでした。

長財布を開いたときに、さっぱりとした分かりやすさを感じる方も多いと思います。この感覚を実現するために思案した結果、すべてのパーツに2つ以上の役割を持たせて部材数が少ないシンプルなレイアウトに辿りつきました。

オープンな長財布のように、明解なレイアウトになっています。

さらに長財布を凌駕できた点として、出し入れしようとしたときに、視野の中心に「見たいもの以外に何もない」、ということがあります。

人の視野は横長なので、見たい物の左右に他の物があると、無意識に見てしまいスムーズな判断を妨げることがあります。Tri-La(トライラ)のレイアウトは自然と見たい物だけを注視して、揺らぎのない動作が可能になります。
ハイブリッドデザイン
ミニ財布でフルオープンにするには、傾いたり落下してもお金がこぼれ出さない仕組みが必要です。その対策で思いついたのは「開かないマネークリップ」でした。

マネークリップの2枚のカバーを端で縫製などで固定すれば、材料の強度で常に閉じようとします。ポケットの開口部をカバーの合わせ目に向ければ、こぼれることはなくなります。

ただその構造でも、落下の際にカバーが大きく開き、散乱することがありました。
そこで上下カバーが開き過ぎないように、コイン受けを少し浮かして取り付けました。

こうすれば上下カバーが大きく開こうとしても、コイン受けがカバーを引っ張り、開く角度を制限できます。これでコインの散乱はほぼ抑制できました。(強く落としたり、角度によっては抑制できないことがあります。)
この上下カバーの間に収納パーツを設けて、二つ折り財布とマネークリップのハイブリッドフォルムが誕生したのです。

この2つのカバーと収納パーツの3層構造・”Tri-Layer” が名前の由来になりました。
製作担当社の紹介
当社が展示会で革財布の市場調査をしていたとき、製品の美しさに驚いたブースがありました。
それがアトリエ・ヒロ、atelier hiro tokyoでした。
慣れない革製品を手作りしていた私たちには、フラッグシップの「コードバン・プレミアム」を初めとして、作品がアートのように宝石のように輝いて見え、とても感動したことを記憶しています。
そして革や加工の技術を、とても丁寧に説明していた姿が印象的でした。

アトリエ・ヒロのポリシーの一端がこれです。↓

Tri-La(トライラ)は、微妙な寸法・配置の差で機能が変わってしまいます。それだけに、設計者として多くの注文を付けざるを得ません。多くの職人さんが諦めたTri-La(トライラ)を、アトリエ・ヒロは革の匠として正面から取り組んでくれました。
新しい素材として、ゴートレザーを薦めてくれたのもアトリエ・ヒロです。

建築設計と人間工学が生んだ「行動設計・動作の最適化」を「形」にした匠です。

実行者紹介 ”小さな建築”を作りたい
RAHKアソシエイツ、代表の北里です。
Tri-La(トライラ)プロジェクトに関心をお寄せいただき、ありがとうございます。
私たちはこのお財布を「お金の入れ物」であると同時に、人に寄り添う「小さな建築」として設計したいと思いました。
財布には「長く愛されてきた型」がありますが、あえてそれを一旦捨て、新たに「速さ」を軸に「本当に必要な動作は何か?」の視点から科学的にアプローチすることを心掛けました。
試用と改良を重ねる中で、財布に合わせて手を動かすのではなく、財布が手を自然な動作に導いてくれる、そんな感覚を覚えました。
この「自然な動作」こそ私たちがこのプロジェクトでお届けしたいものです。

そんなTri-La(トライラ)の魅力をわかりやすくお伝えしようと、支払い時間を実測しました。このような実測は、Makuakeでも初めてかもしれません。
客観的に比較するために、どの財布にも共通する作業パターン、「単位動作」を設定すべきだと考えました。それが動画でご紹介したモデル動作です。どんなタイプの財布でも、構造や使い方が違っても、同じ基準で比較できるように配慮しました。私たちが何を改善しようとしたのか、よろしければお手持ちの財布でモデル動作にかかる時間を測ってみて下さい。

私たちの願いは、誰もが手際よく、気持ちよく使える「最速で最小の美しいミニ財布」を提供することです。ぜひお手に取っていただき、科学と匠の技が生み出した「使う快感」を楽しんでいただけたら、私たちにとって最高の喜びです。
チーム一同、心よりお願い申し上げます。
仕様
カラーバリエーション
どれもジェンダーを問わない魅力を心掛けました。

トーンブラック(内部ブライトブラウン) 凛として優しいたたずまい

シンクネイビー(内部ブライトブラウン) 洗練された小粋さ

テンダーブラウン(内部ブライトブラウン) 芯のあるエレガンス
【サイズ】
幅89ミリ 長さ94ミリ 厚さ7ミリ 重さ26.5g
(自然素材のため、若干の誤差が生じます)
【材質】
山羊革:キッド(日本産)
金具:前カン スチール製
【カラー】
外皮:トーンブラック・シンクネイビー・テンダーブラウン
内部:ブライトブラウン
特許登録7535222の実用化製品
製造国:日本(東京)
ご注意:
本製品は使用変化(色や風合いの変化・凹凸のアタリ)がございます。
スケジュール
2025年11月7日 プロジェクト開始
2025年12月21日 プロジェクト終了
2026年1月下旬 製造開始
2026年4月上旬 リターン配送開始
2026年5月下旬 リターン完了
リターンについて

・12,940円(税込・送料込)
・完成品 1個 (色:トーンブラック)
・標準価格19,910円より35%オフ

・12,940円(税込・送料込)
・完成品 1個 (色:シンクネイビー)
・標準価格19,910円より35%オフ

・12,940円(税込・送料込)
・完成品 1個 (色:テンダーブラウン)
・標準価格19,910円より35%オフ

・13,330円(税込・送料込)
・完成品 1個 (色:トーンブラック)
・標準価格19,910円より33%オフ

・13,330円(税込・送料込)
・完成品 1個 (色:シンクネイビー)
・標準価格19,910円より33%オフ

・13,330円(税込・送料込)
・完成品 1個 (色:テンダーブラウン)
・標準価格19,910円より33%オフ

・13,730円(税込・送料込)
・完成品 1個 (色:トーンブラック)
・標準価格19,910円より31%オフ

・13,730円(税込・送料込)
・完成品 1個 (色:シンクネイビー)
・標準価格19,910円より31%オフ

・13,730円(税込・送料込)
・完成品 1個 (色:テンダーブラウン)
・標準価格19,910円より31%オフ

・25,880円(税込・送料込)
・完成品 2個
(色:トーンブラック・シンクネイビー・テンダーブラウンから2色選択)
・標準価格39,860円より31%オフ
リスク&チャレンジ
・自然素材のため個別差や発色の違いが発生します。 ・天然皮革の為、血筋、トラ、微細な傷、治り傷などが見える場合があります。 ・表記のサイズ、重量は個体により若干の誤差があります。 ・開発中の製品の為、仕様等の細部で変更になる可能性があります。 【配送遅延とキャンセルについて】 ・原則として、サポーター都合によるキャンセル・返金は承っておりません。 ・本文中に記載させていただいたスケジュールは、プロジェクト公開時点の予定です。応援購入の性質上、配送遅延が発生する可能性がございます。 ・原則として、配送遅延に伴う応援購入のキャンセルはできませんが、リターン配送予定月から 3ヶ月 を超えた場合には、希望者のキャンセルに対応させていただきます。 【商品の初期不良について】 ・ 原則として、サポーター都合によるキャンセル・返金は承っておりません。 (サポーター都合のキャンセル不可の例:サイズが合わない、誤注文、長期不在) ・商品の初期不良、またはお届けした商品がご注文内容と異なる場合、到着後14日以内にプロジェクトページの「実行者にメッセージ」よりご連絡くださいませ。 状況を確認の上(不良個所を画像にてお送りください)、ご対応をさせていただきます。 ・到着後15日以降のものに関しましては、送料はサポーター様にてご負担いただきます。 ※なお事前にご連絡がない商品は対応ができませんのでご了承ください。
サポーターからの応援コメント
文章のトップに戻る
応援購入する
このプロジェクトはAll in型です。目標金額の達成に関わらず、プロジェクト終了日の2025年12月21日までに支払いを完了した時点で購入が成立します。
決済時に安心システム利用料として2.2%(税抜)がかかります。
インボイス(適格請求書):対応不可
【超早割】Tri-La シンクネイビー
12,940円(税込)
・完成品 1個
・色:シンクネイビー
・標準価格19,910円より35%オフ
※皆様の応援購入により量産効率が向上した場合、正規販売価格が販売予定価格より下がる可能性もございます。
※デザイン・仕様は変更になる可能性もございます。ご了承ください。
※ご注文状況、使用部材の供給状況、製造工程上の都合等により出荷時期が遅れる場合があります。
【超早割】 Tri-La トーンブラック
12,940円(税込)
・完成品 1個
・色:トーンブラック
・標準価格19,910円より35%オフ
※皆様の応援購入により量産効率が向上した場合、正規販売価格が販売予定価格より下がる可能性もございます。
※デザイン・仕様は変更になる可能性もございます。ご了承ください。
※ご注文状況、使用部材の供給状況、製造工程上の都合等により出荷時期が遅れる場合があります。
【超早割】Tri-La テンダーブラウン
12,940円(税込)
・完成品 1個
・色:テンダーブラウン
・標準価格19,910円より35%オフ
※皆様の応援購入により量産効率が向上した場合、正規販売価格が販売予定価格より下がる可能性もございます。
※デザイン・仕様は変更になる可能性もございます。ご了承ください。
※ご注文状況、使用部材の供給状況、製造工程上の都合等により出荷時期が遅れる場合があります。
【早割】Tri-La テンダーブラウン
13,330円(税込)
・完成品 1個
・色:テンダーブラウン
・標準価格19,910円より33%オフ
※皆様の応援購入により量産効率が向上した場合、正規販売価格が販売予定価格より下がる可能性もございます。
※デザイン・仕様は変更になる可能性もございます。ご了承ください。
※ご注文状況、使用部材の供給状況、製造工程上の都合等により出荷時期が遅れる場合があります。
【早割】 Tri-La トーンブラック
13,330円(税込)
・完成品 1個
・色:トーンブラック
・標準価格19,910円より33%オフ
※皆様の応援購入により量産効率が向上した場合、正規販売価格が販売予定価格より下がる可能性もございます。
※デザイン・仕様は変更になる可能性もございます。ご了承ください。
※ご注文状況、使用部材の供給状況、製造工程上の都合等により出荷時期が遅れる場合があります。
【早割】Tri-La シンクネイビー
13,330円(税込)
・完成品 1個
・色:トーンブラック
・標準価格19,910円より33%オフ
※皆様の応援購入により量産効率が向上した場合、正規販売価格が販売予定価格より下がる可能性もございます。
※デザイン・仕様は変更になる可能性もございます。ご了承ください。
※ご注文状況、使用部材の供給状況、製造工程上の都合等により出荷時期が遅れる場合があります。
【マクアケ割】Tri-La トーンブラック
13,730円(税込)
・完成品 1個
・色:トーンブラック
・標準価格19,910円より31%オフ
※皆様の応援購入により量産効率が向上した場合、正規販売価格が販売予定価格より下がる可能性もございます。
※デザイン・仕様は変更になる可能性もございます。ご了承ください。
※ご注文状況、使用部材の供給状況、製造工程上の都合等により出荷時期が遅れる場合があります。
【マクアケ割】Tri-La シンクネイビー
13,730円(税込)
・完成品 1個
・色:シンクネイビー
・標準価格19,910円より31%オフ
※皆様の応援購入により量産効率が向上した場合、正規販売価格が販売予定価格より下がる可能性もございます。
※デザイン・仕様は変更になる可能性もございます。ご了承ください。
※ご注文状況、使用部材の供給状況、製造工程上の都合等により出荷時期が遅れる場合があります。
【マクアケ割】テンダーブラウン
13,730円(税込)
・完成品 1個
・色:テンダーブラウン
・標準価格19,910円より31%オフ
※皆様の応援購入により量産効率が向上した場合、正規販売価格が販売予定価格より下がる可能性もございます。
※デザイン・仕様は変更になる可能性もございます。ご了承ください。
※ご注文状況、使用部材の供給状況、製造工程上の都合等により出荷時期が遅れる場合があります。
【ペア割】Tri-La 2色選択
25,880円(税込)
・完成品 2個 下記より選択
・色:トーンブラック・シンクネイビー・テンダーブラウン
・標準価格39,820円より35%オフ
※皆様の応援購入により量産効率が向上した場合、正規販売価格が販売予定価格より下がる可能性もございます。
※デザイン・仕様は変更になる可能性もございます。ご了承ください。
※ご注文状況、使用部材の供給状況、製造工程上の都合等により出荷時期が遅れる場合があります。
「Makuake(マクアケ)」は、実行者の想いを応援購入によって実現するアタラシイものやサービスのプラットフォームです。このページは、 プロダクトカテゴリの 「0.42秒の衝撃。機能美が光る匠の技と、建築発想による“速さ”に特化したミニ財布」プロジェクト詳細ページです。